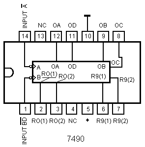
7490 Pin Diagram Circuit Circuit To Control A Common Cathode

7490 circuit diagram Tentang jam digital: mengenal ic 7490 7490 decade counter circuit diagram

7495 Shift Register Circuit Diagram

7495 Shift Register Circuit Diagram

[diagram] logic diagram of ic 7490 Ic 7490 (bcd decade counter) 7490 counter diagram operating group part analysis discussion

Ic 7490 pin diagram, truth table, internal circuit, application

7493 circuit diagram7495 shift register circuit diagram Pinout 74ls90 datasheet binary decade microcontrollerslabIc 7490 pin diagram, truth table, internal circuit, application.

7490 decade counter pin configuration » hackatronic7490 datasheet decade and binary counter pinout images Bcd counter circuit using the 74ls90 decade counter74ls90 counter pinout, examples, applications, datasheet, features.

7493 Circuit Diagram

Ic pdf datasheet binary counters decade

7490 ic pinout[diagram] logic diagram of ic 7490 7490 decade counter circuit (mod-10) designing » counter circuitsTruth 7490 circuit datasheet reset.

7490 circuit truth counter decade etechnog jk connected flop internally flops7490 pin diagram circuit Accurate 50hz oscillator circuit using 555 and 74907490 74ls90 decade contador datasheet pinout ttl relog circuitos integrados electronica practicas 74ls47 anexos belajar.

7490 Datasheet - Decade and Binary Counter, 14 Pin ( Pinout )

Ic diagram electronicshub counter decade table source

141c-group 3 lab report no. 2Exploring ic 7490: a deep dive into decade counter circuit 14+ ic 7490 pin diagramCircuit to control a common cathode seven segment display using 7490.

Shift register ic 74957490 50hz oscillator allpcb binary 5k preset Ic 7490 circuit diagramIc 7490 pin diagram, truth table, internal circuit, application.

Accurate 50Hz Oscillator Circuit Using 555 And 7490 - ALLPCB.com

Ic 7490 pdf

7490 datasheet decade and binary counter pinout images .

.

7490 Pin Diagram Circuit

7490 Pinout

7490 Pinout

14+ Ic 7490 Pin Diagram | Robhosking Diagram

14+ Ic 7490 Pin Diagram | Robhosking Diagram

[DIAGRAM] Logic Diagram Of Ic 7490 - MYDIAGRAM.ONLINE

[DIAGRAM] Logic Diagram Of Ic 7490 - MYDIAGRAM.ONLINE

7490 Pinout

7490 Pinout

7490 Decade Counter Circuit Diagram

7490 Decade Counter Circuit Diagram

7490 Datasheet Decade And Binary Counter Pinout Images

7490 Datasheet Decade And Binary Counter Pinout Images

Ic 7490 Circuit Diagram

Ic 7490 Circuit Diagram

7495 Shift Register Circuit Diagram

7495 Shift Register Circuit Diagram